服务咨询

产品求购企业资讯会展供应

全网搜索 发布询价单
仪表网>产品库>电工仪表>电力测试仪>局放在线监测装置>变压器暂态地电压 (TEV) 局放在线监测系统
  • 变压器暂态地电压 (TEV) 局放在线监测系统
  • 变压器暂态地电压 (TEV) 局放在线监测系统
  • 变压器暂态地电压 (TEV) 局放在线监测系统
  • 变压器暂态地电压 (TEV) 局放在线监测系统
  • 变压器暂态地电压 (TEV) 局放在线监测系统

变压器暂态地电压 (TEV) 局放在线监测系统

参考价
面议
具体成交价以合同协议为准
  • 型号
  • 品牌立欧测控
  • 所在地西安市
  • 更新时间2025-10-09
  • 厂商性质生产厂家
  • 入驻年限2
  • 实名认证已认证
  • 产品数量318
  • 人气值57978
客服在线 索取相关资料 进入商铺

联系方式:邓总点击查看联系方式

近期已有 人咨询,联系时请说明是仪表网 上看到的信息,谢谢!

联系时请说明是仪表网 上看到的信息,谢谢!

同类产品
  西安立欧测控技术有限责任公司是一家专业化的电力行业在线监测系统设备研制、生产、销售单位,注册资金2100万元,坐落于陕西省西安市技术产业开发区的核心区域。我司以西安交通大学“电气绝缘重点实验室”为技术依托,吸收和转化了实验室多年来在电气绝缘领域的诸多科研成果,形成了以GIS在线监测系统、变压器在线监测系统、高压电缆在线监测系统、开关柜在线监测系统为核心的产品体系。涉足的产品有SF6气体微水密度在线监测系统、GIS局部放电在线监测系统、SF6气体泄露监测报警系统、变压器油色谱在线监测系统、变压器局部放电在线监测系统、变压器绕组光纤测温系统、开关柜触头测温及开关柜局部放电在线监测系统、高压带电显示闭锁装置、集成式智能故障报警装置。
  我公司具有雄厚的产品研发实力,推出的每一款新产品几乎都代表了当时同行业的新水平。公司持有软硬件知识产权、软件著作权、注册商标、第三方型式试验报告、ISO质量体系认证等证书多项。具备多项独立知识产权的核心技术。
  我司具有强大的市场服务队伍。对产品的售前、售中、售后提供整套的专业服务。公司承诺对售出的产品实行“三包”。我们真诚的希望我们的产品能够成为用户心中“产品质量过硬、价格合理、值得信赖”的品牌。
  西安立欧测控本着“信誉至上、用户至上”的原则,“以诚为本、以和为心、以信为生”的经营理念,“厚积薄发、求真务实”的敬业精神,竭诚为业界同仁提供专业的产品和诚挚的服务。

 

 

 

点击展示更多内容
产地国产 加工定制
立欧测控(LIOUSENSOR ®)研发生产的LE-PDS-ZB变压器暂态地电压(TEV)局放在线监测系统,专用于110kV及以上数字化变电站,实现局部放电实时监测、分析和远程报警。系统具备高温耐受、断点续传、低功耗及无缝云平台对接功能,提升变电站检修数字化水平。变压器暂态地电压 (TEV) 局放在线监测系统
变压器暂态地电压 (TEV) 局放在线监测系统 产品详情

变压器暂态地电压 (TEV) 局放在线监测系统 高温耐受 断点续传 无缝对接云平台 低功耗 立欧测控

(LE-PDS-ZB)

产品简介

LE-PDS-ZB型变压器暂态地电压 (TEV) 局放在线监测系统为变电站GIS局放实时在线监测装置,主要适用于110kV及以上电压等级的数字化变电站的局放在线监测、分析、远程报警等,实现变电站检修数字化。

变压器暂态地电压 (TEV) 局放在线监测系统 

变压器暂态地电压 (TEV) 局放在线监测系统变压器暂态地电压 (TEV) 局放在线监测系统 

产品特点

1.灵敏度高

2.抗干扰能力强

3.定位准确

4.强大的专家谱图库

5.安装灵活,无需停电

6.多种接口,兼容性强

7.性能可靠,运行稳定

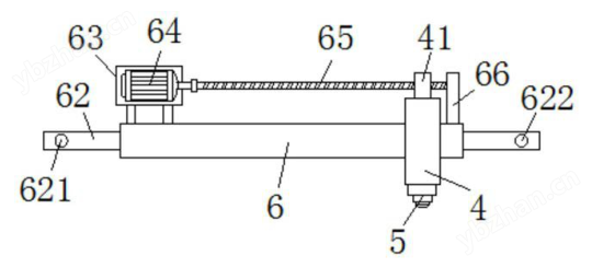
系统组成

超高频传感器、数据处理单元(局放IED)、高性能工业控制计算机、高频电缆、机械附件以及专业分析软件等。

系统架构

变压器暂态地电压 (TEV) 局放在线监测系统 

图1

变压器暂态地电压 (TEV) 局放在线监测系统 

图2

变压器暂态地电压 (TEV) 局放在线监测系统 

图3

变压器暂态地电压 (TEV) 局放在线监测系统 

图4

变压器暂态地电压 (TEV) 局放在线监测系统 

图5

技术参数

检测宽带

300-1500 MHZ

工作电源

220-240VAC150-60Hz

输入通道

4,8通道/单元

通讯接口

Ethernet/RS485

通讯协议

Modbus-TCP/Modbus-RTU

动态范围

-80~-15 dBmv

EMC性能

IEC61000-4,IEC68-2

运行环境温度

-40-+65℃

运行环境湿度

5-90% RH(无冷凝)

软件系统

该在线监测系统应用程序软件,采用windows通用菜单界面,方便用户操作。软件实现了对于变压器的局部放电测量及分析等一系列功能。主要功能有:监测结果显示、监测参数设置、数据分析及超限报警、数据保存及历史查询、密码设置及更改、谱图保存以及基于局域网的远程访问等功能。

a)监测显示功能

b)参数设置功能

c)数据分析功能和报警功能

d)数据保存及历史查询功能

e)基于IP的控制、采集、显示及文件管理功能

f)其它功能

变压器暂态地电压 (TEV) 局放在线监测系统 

现场应用案例

变压器暂态地电压 (TEV) 局放在线监测系统变压器暂态地电压 (TEV) 局放在线监测系统

热门产品
产品名称参考价地区公司名称更新时间 
三合一GIS局部放电在线监测装置 面议 西安市 西安立欧测控技术有限责任公司 2025-10-09 在线询价
变压器局部放电在线监测装置 面议 西安市 西安立欧测控技术有限责任公司 2025-10-09 在线询价
GIS局放在线监测装置 面议 西安市 西安立欧测控技术有限责任公司 2025-07-09 在线询价
GIS局放在线监测装置报价 面议 西安市 西安立欧测控技术有限责任公司 2025-07-09 在线询价
变压器局放在线监测装置 ¥5000 西安市 西安立欧测控技术有限责任公司 2025-07-09 在线询价
GIS局放在线监测装置 ¥5000 西安市 西安立欧测控技术有限责任公司 2025-07-09 在线询价
免责申明

所展示的信息由会员自行提供,内容的真实性、准确性和合法性由发布会员负责,仪表网对此不承担任何责任。仪表网不涉及用户间因交易而产生的法律关系及法律纠纷,纠纷由您自行协商解决

友情提醒 :本网站仅作为用户寻找交易对象,就货物和服务的交易进行协商,以及获取各类与贸易相关的服务信息的平台。为避免产生购买风险,建议您在购买相关产品前务必确认供应商资质及产品质量。过低的价格、夸张的描述、私人银行账户等都有可能是虚假信息,请采购商谨慎对待,谨防欺诈,对于任何付款行为请您慎重抉择!如您遇到欺诈等不诚信行为,请您立即与仪表网联系,如查证属实,仪表网会对该企业商铺做注销处理,但仪表网不对您因此造成的损失承担责任!

关于我们|网站导航|本站服务|会员服务|网站建设|特色服务|旗下网站|友情链接|在线投诉|兴旺通|供应信息

仪表网-仪器仪表行业“互联网+”服务平台

Copyright ybzhan.cn All Rights Reserved法律顾问:浙江天册律师事务所 贾熙明律师ICP备案号:浙B2-20100369-24

客服热线:0571-87756399,87759942加盟热线:0571-87756399展会合作:0571-87759945客服邮箱:873582202@qq.com 投稿邮箱:ybzhan@qq.com

网站客服:服务咨询:对外合作:仪表采购群: 仪表技术群:

版权所有©浙江兴旺宝明通网络有限公司


提示

×

*您想获取产品的资料:

以上可多选,勾选其他,可自行输入要求

个人信息:

温馨提示

该企业已关闭在线交流功能